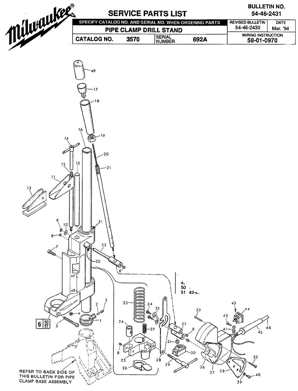
3570-(692A)
Marca : Milwaukee 
Tipo : Coring & Drill Press Stand
Subtipo : Coring & Drill Press Stand
Zoom: 100%
Aquí tienes algunos colores increíbles disponibles en la plantilla de la tienda online.
Marca : Milwaukee 
Tipo : Coring & Drill Press Stand
Subtipo : Coring & Drill Press Stand
Ocurrió un problema de conexión. Vuelve a cargar la página o revisa tu conexión.