Colores de la tienda

Aquí tienes algunos colores increíbles disponibles en la plantilla de la tienda online.

Zoom: 100%
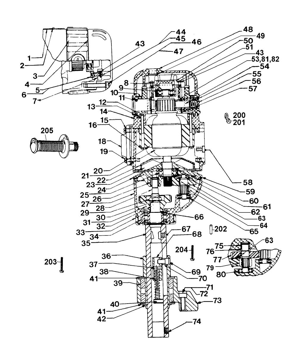
Screw 014437-00 2Switch Ring 038201-02 3Ring 445694-00 4Bushing 071165-00 5Nut 12226-00 6Spacer 037914-00 7Bearing,ball 158475-00 8Plug 030612-00 9Screw 032172-00 10O Ring 096121-00 11Replaces 852483 - Ball 000475-00 12Spring 038769-00 13Screw 006125-00 16Adapter 038223-00 18Armature 450063-31SV 21Fan Baffle 038207-01 22Fan 615062-00 23Cover-gear Case 944824-00SV 24Replaced By 605040-25 -bearing,ball 330003-12 25Needle Bearing 021635-00 26Case,gear 944823-00 27Spindle 449590-00 28Stop Nut 070920-00 29Washer 045051-00 30Gear 055081-00 31Key 13851-00 32Bearing,ball 157359-00 34Body,arbor 449623-00 35Pin,roll 99207-09 37Washer 450221-00 41Ring,retaining 450220-00 42Contact 038224-00 43Washer 004145-01 44Screw 037955-00 45Screw 009842-00 46Washer 000416-00 47End Housing 449908-00 48Plug 1632-00 49Rivet 004006-01 51Lead 038226-00 53Brush & Spring N031655 54Brush Holder 33878-01 55Cap,brush 33880-01 56Washer 024323-00 57Gasket 939467-00 59Plug 30613-00 60Bearing,ball 20774-01 61Gear 038210-00 62Key 006952-00 63Pinion 38278-00 64Ball Bearing 030090-00 65Spacer 944822-00 66Screw 24486-00 67Screw 99154-08 69Spacer 449630-00 70Screw 51764-00 74Needle Bearing 038221-00 75Washer 38218-00 76Gear 38356-00 77Pinion 55080-00 79Bearing, Ball 8068-00 80Spring,brush 9293-00 81Terminal 33315-00 82Terminal 053650-00 200Terminal,female 450213-00 201Roller 050169-00 202Screw&washer 099461-44 203Screw 99461-28 204
Página 1

Página 1

Página 2

Página 2


2
Imagen
Existencias
0
3
Imagen
Existencias
0
4
Imagen
Existencias
0
5
Imagen
Existencias
0
6
Imagen
Part #
Existencias
0
7
Imagen
Existencias
0
8
Imagen
Part # 15847500
Existencias
11
56.84
9
Imagen
Existencias
0
10
Imagen
Existencias
0
11
Imagen
Existencias
0
12
Imagen
Existencias
0
13
Imagen
Existencias
0
16
Imagen
Existencias
0
18
Imagen
Existencias
0
21
Imagen
Part # 45006331SV
Existencias
0
2272.44
22
Imagen
Existencias
0
23
Imagen
Existencias
0
24
Imagen
Existencias
0
25
Imagen
Existencias
0
44.08
26
Imagen
Existencias
0
27
Imagen
Existencias
0
28
Imagen
Existencias
0
29
Imagen
Existencias
0
30
Imagen
Existencias
0
31
Imagen
Existencias
0
32
Imagen
Part #
Existencias
0
34
Imagen
Existencias
0
35
Imagen
Existencias
0
37
Imagen
Existencias
0
41
Imagen
Existencias
0
42
Imagen
Existencias
0
43
Imagen
Existencias
0
44
Imagen
Existencias
0
45
Imagen
Existencias
0
46
Imagen
Existencias
0
47
Imagen
Existencias
0
48
Imagen
Part # 44990800
Existencias
0
356.12
49
Imagen
Part #
Existencias
0
51
Imagen
Existencias
0
53
Imagen
Existencias
0
54
Imagen
Existencias
19
445.44
55
Imagen
Existencias
0
56
Imagen
Part # 3388001
Existencias
0
57
Imagen
Existencias
0
59
Imagen
Existencias
0
60
Imagen
Existencias
0
61
Imagen
Existencias
0
62
Imagen
Existencias
0
63
Imagen
Existencias
0
64
Imagen
Part # 3827800
Existencias
0
758.64
65
Imagen
Existencias
0
66
Imagen
Existencias
0
67
Imagen
Existencias
0
69
Imagen
Existencias
0
70
Imagen
Existencias
0
74
Imagen
Existencias
0
75
Imagen
Existencias
0
76
Imagen
Existencias
0
77
Imagen
Part # 3835600
Existencias
5
968.60
79
Imagen
Existencias
0
80
Imagen
Existencias
0
81
Imagen
Part # 929300
Existencias
5
81.20
82
Imagen
Existencias
0
200
Imagen
Existencias
0
201
Imagen
Existencias
0
202
Imagen
Existencias
0
203
Imagen
Existencias
0
204
Imagen
Existencias
0
15
Imagen
Existencias
0
19
Imagen
Existencias
0
87
Imagen
Existencias
0
102
Imagen
Existencias
0
105
Imagen
Existencias
0
107
Imagen
Existencias
0
108
Imagen
Existencias
0
109
Imagen
Existencias
0
111
Imagen
Existencias
0
112
Imagen
Existencias
0
113
Imagen
Existencias
0
115
Imagen
Existencias
0
116
Imagen
Existencias
0
118
Imagen
Existencias
0
119
Imagen
Existencias
0
121
Imagen
Existencias
0
122
Imagen
Existencias
0
123
Imagen
Existencias
0
125
Imagen
Existencias
0
126
Imagen
Existencias
0
127
Imagen
Existencias
0
128
Imagen
Existencias
0
132
Imagen
Existencias
0
133
Imagen
Existencias
0
135
Imagen
Existencias
0
138
Imagen
Existencias
0
139
Imagen
Existencias
0
139
Imagen
Existencias
0
140
Imagen
Existencias
0
140
Imagen
Existencias
0
143
Imagen
Existencias
0
144
Imagen
Existencias
0
145
Imagen
Existencias
0
146
Imagen
Existencias
0
153
Imagen
Existencias
0
155
Imagen
Existencias
0
157
Imagen
Existencias
0
163
Imagen
Existencias
0
171
Imagen
Existencias
0
172
Imagen
Existencias
0
206
Imagen
Existencias
0
800
Imagen
Existencias
0
801
Imagen
Part # 28348401
Existencias
43
3012.52

Ocurrió un problema de conexión. Vuelve a cargar la página o revisa tu conexión.