Colores de la tienda

Aquí tienes algunos colores increíbles disponibles en la plantilla de la tienda online.

Zoom: 100%
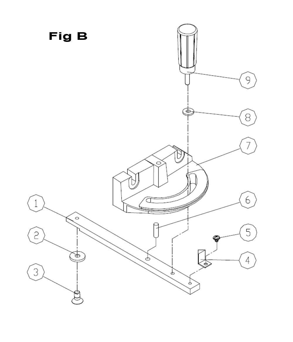
Lifting Eye M10 PM1500-004 1Machine Main Body Frame JWBS18B-102 2Hex Head Bolt TS-1482021 3Power Cord, 1-3/4hp JWBS15-104 4Power Cord, 3hp JWBS15-104B 4Washer TS-1550041 5Tension Pointer JWBS18B-106 6Shoulder Bolt PM1500-012 7Socket Head Cap Screw M6x50 TS-1503111 8Hex Nut TS-2311061 9Flat Washer TS-1550061 10Socket Head Cap Screw TS-1504031 11Upper Wheel Sliding Bracket JWBS15-112 12Adjusting Bolt JWBS18B-113 13Handle Wheel,6 JWBS15-114 14Hex Socket Cap Screw TS-1503051 15Upper Shaft JWBS15-116 16Spring Pin JWBS15-117 17Upper Wheel Sliding Bracket JWBS15-118 18Upper Wheel Shaft JWBS18B-119 19Spring JWBS15-120 20Bushing PM1500-010-02 21Pin JWBS15-122 22Locate Block JWBS15-123 23Thrust Bearing 51201 BB-51201 24Upper Wheel Assy PM1800B-018 25Special Flat Washer PM1800B-017 26Lock Washer TS-2361081 27Socket Head Cap Screw TS-1504041 28Saw Blade,150# JWBS18B-129 29Lower Wheel Assembly JWBS18B-130 30Viewing Window PM1500-050 31Nylon Jam Nut TS-1541021 32Socket Head Cap Screw TS-1503021 33Upper Door JWBS18B-134 34Socket Head Cap Screw JWBS15-135 35Lower Door JWBS18B-136 36E-ring 15x1.5t PM1800B-027-026 37Sponge JWBS15-138 38Jet Nameplate,138(r2000) JET-138-R2000 39Sponge JWBS15-140 40Sponge JWBS15-141 41Pan Head Screw TS-1532032 42Safety Key For Joss-s-213 (not Shown) JOSS-S-213SK 43Safety Key For Jwbs15-143b (not Shown) JWBS15-143BSK 43Control Switch Assembly JWBS15-143B 43Switch JOSS-S-213 43Motor Cord JWBS15-144 44Pan Head Screw TS-1533052 45Contactor Switch JWBS15-146CS 46Magnetic Switch Assembly JWBS15-146 46Overload Protector JWBS15-146OP 46Phillips Pan Head Machine Screw TS-1533032 47External Tooth Lock Washer TS-0733041 48Special Washer 16 X 8.2 X 0.4t PM1800B-159 49Poly-v Belt,430j10 JWBS18B-150 50Motor Pulley JWBS18B-151 51Socket Set Screw TS-1523041 52Hex Nut TS-2311061 53Insert Block JWBS18DX-249 54Fixed Plate JWBS15-155 55Lock Washer TS-2361061 56Button Head Socket Screw TS-2246122 57Tension Quick Release Lever Shaft PM1500-074 58Nut TS-1540083 59Tension Quick Release Lever JWBS18B-160 60Handle JWBS15-161 61Socket Head Button Screw TS-2248202 62Lock Washer TS-2361081 63Flat Washer TS-1550061 64Shaft Fixed Block PM1500-070 65Socket Head Cap Screw TS-1503061 66Cam PM1500-069 67Lock Knob,m10x53 JWBS15-168 68Lock Handle M10 PM1500-068 69Lock Knob,m10x25 JWBS15-170 70Knob 135041 71Hex Socket Cap Screw TS-1503051 72Pointer JWBS15-173 73Phillips Pan Hd Screw M5x6 Jbos-5 6286494 74Hex Cap Screw TS-1482051 75Washer TS-1550041 76Brush PM1500-058 77Nylon Jam Nut TS-1541021 78Lower Protect Cover JWBS18B-179 79Socket Head Button Screw M6x8 TS-2246082 80Lock Washer TS-2361061 81Washer TS-1550041 82Hex Cap Screw TS-1490071 83Support Plate JWBS15-184 84Nylon Insert Lock Nut TS-1541031 85Nylon Insert Lock Nut TS-1541031 86Flat Washer TS-1550061 87Socket Head Cap Screw TS-1504041 88Special Washer PM1800B-088 89Special Washer PM1800B-087 90Set Screw TS-2279301 91Nylon Insert Lock Hex Nut TS-1541041 92Lower Wheel Shaft PM1800B-084 93Strain Relief Pg13.5 PM1500-062 94Pan Head Tapping Screw PM1500-039 95Strain Relief Fixed Plate PM1500-083 96Strain Relief Fixed Plate JWBS15-196A 96Handle JWBS15-197 97Nut TS-1540061 98Hex Cap Screw TS-149105 99Spring Washer TS-2361101 100Junction Box (not Shown) JWBS18B-1101AJB 101Junction Box (not Shown) JWBS18B-1101JB 101Running Capacitor (not Shown),60uf, 300 JWBS18B-1101ARC 101Motor Fan (not Shown) JWBS18B-1101FM 101Motor Fan Cover (not Shown) JWBS18B-1101AMFC 101Centrifugal Switch (not Shown) JWBS18B-1101ACS 101Centrifugal Switch (not Shown) JWBS18B-1101CS 101Running Capacitor (not Shown),40uf, 250 JWBS18B-1101RC 101Motor Fan Cover (not Shown) JWBS18B-1101FMC 101Start Capacitor (not Shown),300mfd, 250 JWBS18B-1101ASC 101Motor Fan (not Shown) JWBS18B-1101AMF 101Start Capacitor (not Shown),300mfd, 250 JWBS18B-1101SC 101Junction Box Cover (not Shown) JWBS18B-1101AJBC 101Junction Box Cover (not Shown) JWBS18B-1101JBC 101Motor,1-3/4hp JWBS18B-1101 101Motor,3hp/230v JWBS18B-1101A 101Motor Bracket Lock Handle M10x33 PM1500-015 102Plain Washer TS-1550071 103Motor Bracket JWBS15-1104 104Locating Block PM1500-038 105Socket Head Button Screw TS-2248202 106Bushing JWBS18B-1147 147Plain Washer TS-1550071 148Hex Cap Screw TS-1490021 149
Página 1

Página 1

Página 2

Página 2

Página 3

Página 3

Página 4

Página 4

Página 5

Página 5

Página 6

Página 6

Página 7

Página 7

Página 8

Página 8

Página 9

Página 9


1
Imagen
Existencias
0
3
Imagen
Part # TS1482021
Existencias
0
243.60
4
Imagen
Existencias
0
4
Imagen
Existencias
0
5
Imagen
Existencias
0
6
Imagen
Existencias
0
7
Imagen
Existencias
0
9
Imagen
Part # TS2311061
Existencias
0
129.92
10
Imagen
Existencias
0
11
Imagen
Existencias
0
64.96
13
Imagen
Existencias
0
14
Imagen
Existencias
0
15
Imagen
Existencias
0
129.92
16
Imagen
Existencias
0
17
Imagen
Existencias
0
19
Imagen
Existencias
0
20
Imagen
Existencias
0
21
Imagen
Existencias
0
22
Imagen
Existencias
0
23
Imagen
Existencias
0
24
Imagen
Existencias
0
25
Imagen
Existencias
0
26
Imagen
Existencias
0
27
Imagen
Existencias
0
28
Imagen
Existencias
0
129.92
29
Imagen
Existencias
0
30
Imagen
Existencias
0
31
Imagen
Existencias
0
32
Imagen
Existencias
0
33
Imagen
Existencias
0
34
Imagen
Existencias
0
35
Imagen
Existencias
0
36
Imagen
Existencias
0
37
Imagen
Existencias
0
38
Imagen
Existencias
0
40
Imagen
Existencias
0
41
Imagen
Existencias
0
42
Imagen
Part # TS1532032
Existencias
0
129.92
43
Imagen
Existencias
0
43
Imagen
Existencias
0
44
Imagen
Existencias
0
45
Imagen
Existencias
0
46
Imagen
Existencias
0
46
Imagen
Existencias
0
46
Imagen
Existencias
0
50
Imagen
Existencias
0
51
Imagen
Existencias
0
52
Imagen
Existencias
0
53
Imagen
Part # TS2311061
Existencias
0
129.92
54
Imagen
Existencias
0
55
Imagen
Existencias
0
56
Imagen
Part # TS2361061
Existencias
0
57
Imagen
Existencias
0
59
Imagen
Existencias
0
61
Imagen
Existencias
0
62
Imagen
Existencias
0
63
Imagen
Existencias
0
64
Imagen
Existencias
0
65
Imagen
Existencias
0
66
Imagen
Existencias
0
67
Imagen
Existencias
0
68
Imagen
Existencias
0
69
Imagen
Existencias
0
70
Imagen
Existencias
0
71
Imagen
Part #
Existencias
0
72
Imagen
Existencias
0
129.92
73
Imagen
Existencias
0
75
Imagen
Existencias
0
76
Imagen
Existencias
0
77
Imagen
Existencias
0
78
Imagen
Existencias
0
79
Imagen
Existencias
0
81
Imagen
Part # TS2361061
Existencias
0
82
Imagen
Existencias
0
83
Imagen
Existencias
0
84
Imagen
Existencias
0
85
Imagen
Existencias
0
86
Imagen
Existencias
0
87
Imagen
Existencias
0
88
Imagen
Existencias
0
129.92
89
Imagen
Existencias
0
90
Imagen
Existencias
0
91
Imagen
Existencias
0
92
Imagen
Existencias
0
93
Imagen
Existencias
0
94
Imagen
Existencias
0
95
Imagen
Existencias
0
96
Imagen
Existencias
0
97
Imagen
Existencias
0
98
Imagen
Existencias
0
99
Imagen
Existencias
0
100
Imagen
Existencias
0
101
Imagen
Existencias
0
101
Imagen
Existencias
0
101
Imagen
Existencias
0
101
Imagen
Existencias
0
103
Imagen
Existencias
0
104
Imagen
Existencias
0
105
Imagen
Existencias
0
106
Imagen
Existencias
0
147
Imagen
Existencias
0
148
Imagen
Existencias
0
149
Imagen
Existencias
0
1
Imagen
Existencias
0
2
Imagen
Existencias
0
3
Imagen
Existencias
0
4
Imagen
Existencias
0
5
Imagen
Existencias
0
7
Imagen
Existencias
0
8
Imagen
Existencias
0
10
Imagen
Existencias
0
11
Imagen
Existencias
0
12
Imagen
Existencias
0
13
Imagen
Existencias
0
14
Imagen
Existencias
0
15
Imagen
Existencias
0
16
Imagen
Existencias
0
17
Imagen
Part # TS2311061
Existencias
0
129.92
18
Imagen
Existencias
0
19
Imagen
Existencias
0
20
Imagen
Existencias
0
21
Imagen
Existencias
0
23
Imagen
Existencias
0
24
Imagen
Existencias
0
25
Imagen
Existencias
0
26
Imagen
Existencias
0
27
Imagen
Part # BB608ZZ
Existencias
0
754.00
28
Imagen
Existencias
0
29
Imagen
Existencias
0
30
Imagen
Existencias
0
31
Imagen
Existencias
0
129.92
32
Imagen
Existencias
0
33
Imagen
Existencias
0
34
Imagen
Existencias
0
2
Imagen
Existencias
0
3
Imagen
Existencias
0
4
Imagen
Existencias
0
6
Imagen
Existencias
0
7
Imagen
Existencias
0
8
Imagen
Existencias
0
9
Imagen
Existencias
0
10
Imagen
Part # TS2361061
Existencias
0
11
Imagen
Existencias
0
12
Imagen
Existencias
0
1
Imagen
Existencias
0
2
Imagen
Existencias
0
3
Imagen
Part # TS1532032
Existencias
0
129.92
4
Imagen
Existencias
0
8
Imagen
Existencias
0
9
Imagen
Existencias
0
64.96
10
Imagen
Existencias
0
12
Imagen
Existencias
0
13
Imagen
Part # TS1540031
Existencias
0
194.88
14
Imagen
Existencias
0
15
Imagen
Existencias
0
16
Imagen
Existencias
0
17
Imagen
Existencias
0
18
Imagen
Existencias
0
19
Imagen
Existencias
0
20
Imagen
Existencias
0
21
Imagen
Existencias
0
22
Imagen
Existencias
0
23
Imagen
Existencias
0
25
Imagen
Existencias
0
129.92
26
Imagen
Existencias
0
27
Imagen
Existencias
0
1
Imagen
Existencias
0
1
Imagen
Existencias
0
1
Imagen
Existencias
0
1
Imagen
Existencias
0
2
Imagen
Existencias
0
2
Imagen
Existencias
0
3
Imagen
Existencias
0
3
Imagen
Existencias
0
4
Imagen
Existencias
0
4
Imagen
Existencias
0
6
Imagen
Existencias
0
6
Imagen
Existencias
0
7
Imagen
Existencias
0
8
Imagen
Existencias
0
129.92
1
Imagen
Existencias
0
1
Imagen
Existencias
0
2
Imagen
Existencias
0
3
Imagen
Existencias
0
4
Imagen
Existencias
0
5
Imagen
Existencias
0
6
Imagen
Existencias
0
7
Imagen
Existencias
0
8
Imagen
Existencias
0
9
Imagen
Existencias
0
10
Imagen
Existencias
0
11
Imagen
Existencias
0
12
Imagen
Existencias
0
13
Imagen
Existencias
0
14
Imagen
Existencias
0
15
Imagen
Existencias
0
16
Imagen
Existencias
0
17
Imagen
Existencias
0
18
Imagen
Existencias
0
19
Imagen
Existencias
0
107
Imagen
Part # TS1482031
Existencias
0
108
Imagen
Existencias
0
109
Imagen
Existencias
0
110
Imagen
Existencias
0
111
Imagen
Existencias
0
112
Imagen
Existencias
0
183.28
113
Imagen
Existencias
0
114
Imagen
Part # TS2361061
Existencias
0
116
Imagen
Existencias
0
117
Imagen
Existencias
0
118
Imagen
Existencias
0
119
Imagen
Existencias
0
120
Imagen
Existencias
0
121
Imagen
Existencias
0
122
Imagen
Existencias
0
123
Imagen
Existencias
0
124
Imagen
Existencias
0
125
Imagen
Existencias
0
127
Imagen
Existencias
0
128
Imagen
Existencias
0
129
Imagen
Existencias
0
130
Imagen
Existencias
0
131
Imagen
Existencias
0
132
Imagen
Existencias
0
133
Imagen
Existencias
0
134
Imagen
Existencias
0
135
Imagen
Existencias
0
136
Imagen
Existencias
0
137
Imagen
Existencias
0
138
Imagen
Existencias
0
139
Imagen
Existencias
0
140
Imagen
Existencias
0
141
Imagen
Existencias
0
144
Imagen
Existencias
0
145
Imagen
Existencias
0
146
Imagen
Existencias
0
1
Imagen
Existencias
0
1
Imagen
Existencias
0
2
Imagen
Existencias
0
3
Imagen
Existencias
0
4
Imagen
Existencias
0
6
Imagen
Existencias
0
7
Imagen
Existencias
0
8
Imagen
Existencias
0
9
Imagen
Existencias
0
2
Imagen
Existencias
0
3
Imagen
Existencias
0
4
Imagen
Existencias
0
6
Imagen
Existencias
0
7
Imagen
Existencias
0
8
Imagen
Existencias
0
129.92
9
Imagen
Existencias
0
10
Imagen
Existencias
0
11
Imagen
Existencias
0
12
Imagen
Existencias
0
13
Imagen
Existencias
0
14
Imagen
Existencias
0
16
Imagen
Existencias
0
17
Imagen
Existencias
0
18
Imagen
Existencias
0

Ocurrió un problema de conexión. Vuelve a cargar la página o revisa tu conexión.