Colores de la tienda

Aquí tienes algunos colores increíbles disponibles en la plantilla de la tienda online.

Zoom: 100%
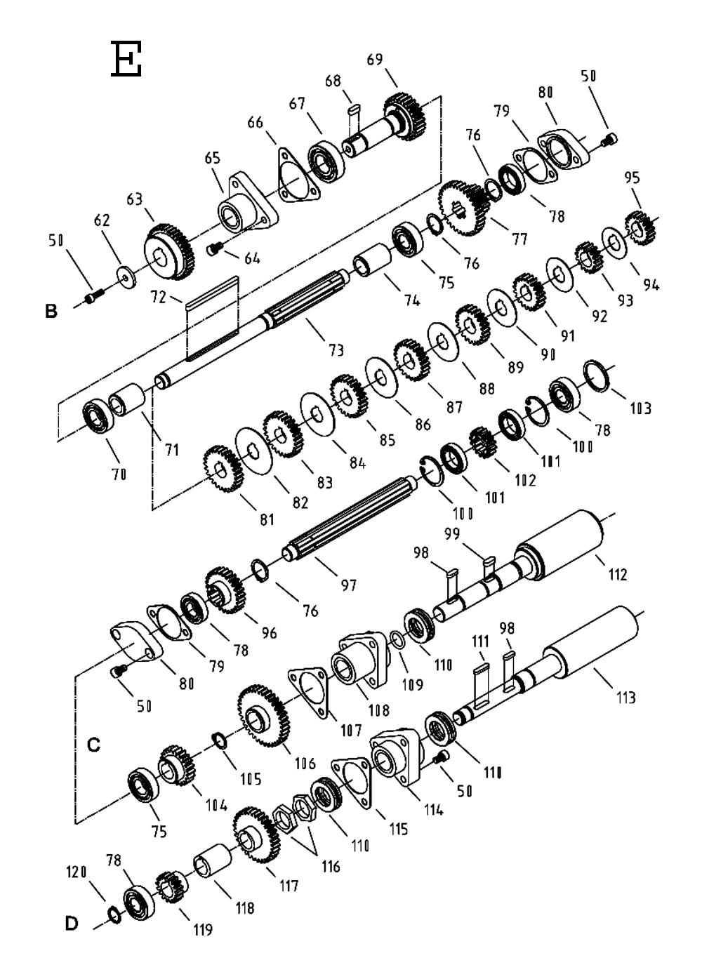
Plug GH1340A-04-06 1Headstock Cover GH1440W-04-60 2Socket Head Cap Screw TS-1503081 3Gasket GH1440W-04-61 40-ring GB3452.1-14X2.65 5Gear GH1440W-04-38 6Shaft GH1440W-04-41 7Set Screw GB75-M6x10 8Set Screw GB77-M6x6 9Gear GH1440W-04-37 10Gear GH1440W-04-36 11Set Screw GB77-M12x12 12Shift Arm GH1440W-04-43 13Spring Pin GB879-5X30 14Retainer Ring GB8942-12 15Shift Fork GH1440W-04-45 16Shift Arm GH1440W-04-35 17Gear Shifter GH1440W-04-44 18Plug GH1440W-04-10 19Key GB1096-5X16 20Steel Ball GB308-SB8 21Spring C6240-20018 22Handle Body GH1440W-04-49 23Handle Cap GB414114-BM10X50 24Handle Lever GH1440W-04-34 25Lever Name Plate C6240-20001 26Phillips Pan Head Machine Screw TS-1531012 27Screw GH1440W-04-59 28Socket Head Cap Screw TS-1503031 29Position Plate GH1440W-04-50 300-ring GB34529-19X265 31Gear Shaft GH1440W-04-40 32Gear Shaft GH1440W-04-42 33Position Plate GH1440W-04-51 34Handle Body GH1440W-04-48 35Socket Head Cap Screw TS-1506041 36Alignment Bolt GB5782-M10x40 37Alignment Bolt GH1440W-04-62 38Alignment Block GH1440W-04-63 39Oil Sight Glass GB11601-89 40" Headstock Casting (14"") " GH1440W-04-01 41Gear Shaft GH1440W-04-39 43Shaft Fork GH1440W-04-47 44Shifting Crank GH1440W-04-72 45Shaft Fork GH1440W-04-71 46Shifting Crank GH1440W-04-56 47Steel Ball GB308-SB9 48Spring GH1440W-49 49Shaft GH1440W-04-52 50Shaft GH1440W-04-54 51Shaft GH1440W-04-53 52Key GB1096-4X10 530-ring GB34529-106X265 54Collar GH1440W-04-55 55Socket Head Cap Screw TS-1503031 56Collar GH1440W-04-57 57Handle Body GH1440W-04-58 580-ring GB34529-25X265 142Name Plate GH1340W-04-02 159
Página 1

Página 1

Página 2

Página 2

Página 3

Página 3

Página 4

Página 4

Página 5

Página 5

Página 6

Página 6

Página 7

Página 7

Página 8

Página 8

Página 9

Página 9

Página 10

Página 10

Página 11

Página 11

Página 12

Página 12

Página 13

Página 13

Página 14

Página 14

Página 15

Página 15

Página 16

Página 16

Página 17

Página 17

Página 18

Página 18


1
Imagen
Existencias
0
2
Imagen
Existencias
0
3
Imagen
Existencias
0
4
Imagen
Part # GH1440W0461
Existencias
0
583.48
5
Imagen
Existencias
0
6
Imagen
Existencias
0
7
Imagen
Existencias
0
8
Imagen
Existencias
0
9
Imagen
Existencias
0
10
Imagen
Existencias
0
11
Imagen
Existencias
0
12
Imagen
Existencias
0
13
Imagen
Existencias
0
14
Imagen
Existencias
0
15
Imagen
Existencias
0
16
Imagen
Existencias
0
17
Imagen
Existencias
0
18
Imagen
Existencias
0
19
Imagen
Existencias
0
20
Imagen
Existencias
0
21
Imagen
Existencias
0
22
Imagen
Existencias
0
23
Imagen
Existencias
0
24
Imagen
Existencias
0
25
Imagen
Existencias
0
26
Imagen
Existencias
0
28
Imagen
Existencias
0
29
Imagen
Existencias
0
30
Imagen
Existencias
0
31
Imagen
Existencias
0
32
Imagen
Existencias
0
33
Imagen
Existencias
0
34
Imagen
Existencias
0
35
Imagen
Existencias
0
36
Imagen
Existencias
0
37
Imagen
Existencias
0
38
Imagen
Existencias
0
39
Imagen
Existencias
0
40
Imagen
Existencias
0
43
Imagen
Existencias
0
44
Imagen
Existencias
0
45
Imagen
Existencias
0
46
Imagen
Existencias
0
47
Imagen
Existencias
0
48
Imagen
Existencias
0
49
Imagen
Existencias
0
50
Imagen
Existencias
0
51
Imagen
Existencias
0
52
Imagen
Existencias
0
53
Imagen
Existencias
0
54
Imagen
Existencias
0
55
Imagen
Existencias
0
56
Imagen
Existencias
0
57
Imagen
Existencias
0
58
Imagen
Existencias
0
142
Imagen
Existencias
0
159
Imagen
Existencias
0
56
Imagen
Existencias
0
61
Imagen
Existencias
0
129.92
62
Imagen
Existencias
0
63
Imagen
Part #
Existencias
0
64
Imagen
Part # 1110
Existencias
0
65
Imagen
Existencias
0
66
Imagen
Existencias
0
67
Imagen
Existencias
0
68
Imagen
Existencias
0
69
Imagen
Existencias
0
70
Imagen
Existencias
0
71
Imagen
Existencias
0
73
Imagen
Part #
Existencias
0
74
Imagen
Existencias
0
75
Imagen
Existencias
0
76
Imagen
Existencias
0
77
Imagen
Existencias
0
78
Imagen
Existencias
0
79
Imagen
Existencias
0
80
Imagen
Existencias
0
81
Imagen
Existencias
0
82
Imagen
Existencias
0
83
Imagen
Existencias
0
84
Imagen
Existencias
0
85
Imagen
Existencias
0
86
Imagen
Existencias
0
87
Imagen
Existencias
0
89
Imagen
Existencias
0
90
Imagen
Existencias
0
91
Imagen
Existencias
0
92
Imagen
Existencias
0
93
Imagen
Existencias
0
94
Imagen
Existencias
0
95
Imagen
Existencias
0
96
Imagen
Existencias
0
97
Imagen
Existencias
0
98
Imagen
Existencias
0
99
Imagen
Existencias
0
100
Imagen
Existencias
0
101
Imagen
Existencias
0
102
Imagen
Existencias
0
103
Imagen
Existencias
0
104
Imagen
Existencias
0
105
Imagen
Existencias
0
106
Imagen
Existencias
0
107
Imagen
Existencias
0
108
Imagen
Existencias
0
109
Imagen
Existencias
0
157
Imagen
Existencias
0
56
Imagen
Existencias
0
74
Imagen
Existencias
0
82
Imagen
Existencias
0
89
Imagen
Existencias
0
90
Imagen
Existencias
0
96
Imagen
Existencias
0
102
Imagen
Existencias
0
110
Imagen
Existencias
0
153.12
111
Imagen
Existencias
0
112
Imagen
Existencias
0
113
Imagen
Existencias
0
114
Imagen
Existencias
0
115
Imagen
Existencias
0
116
Imagen
Existencias
0
117
Imagen
Existencias
0
118
Imagen
Existencias
0
119
Imagen
Existencias
0
120
Imagen
Existencias
0
121
Imagen
Existencias
0
122
Imagen
Existencias
0
123
Imagen
Existencias
0
124
Imagen
Existencias
0
125
Imagen
Existencias
0
129.92
126
Imagen
Existencias
0
127
Imagen
Existencias
0
128
Imagen
Existencias
0
64.96
129
Imagen
Existencias
0
131
Imagen
Existencias
0
132
Imagen
Existencias
0
133
Imagen
Existencias
0
136
Imagen
Existencias
0
138
Imagen
Existencias
0
140
Imagen
Existencias
0
142
Imagen
Existencias
0
143
Imagen
Part #
Existencias
0
145
Imagen
Part #
Existencias
0
147
Imagen
Part #
Existencias
0
149
Imagen
Existencias
0
150
Imagen
Existencias
0
151
Imagen
Existencias
0
154
Imagen
Existencias
0
156
Imagen
Existencias
0
158
Imagen
Existencias
0
160
Imagen
Existencias
0
161
Imagen
Existencias
0
162
Imagen
Existencias
0
163
Imagen
Existencias
0
2
Imagen
Existencias
0
4
Imagen
Part # TS1532032
Existencias
0
129.92
5
Imagen
Existencias
0
6
Imagen
Existencias
0
7
Imagen
Existencias
0
8
Imagen
Existencias
0
10
Imagen
Existencias
0
12
Imagen
Existencias
0
13
Imagen
Existencias
0
64.96
14
Imagen
Existencias
0
15
Imagen
Existencias
0
33
Imagen
Existencias
0
121
Imagen
Existencias
0
122
Imagen
Existencias
0
17
Imagen
Part #
Existencias
0
18
Imagen
Existencias
0
19
Imagen
Existencias
0
21
Imagen
Existencias
0
64.96
23
Imagen
Part #
Existencias
0
24
Imagen
Existencias
0
129.92
25
Imagen
Part #
Existencias
0
28
Imagen
Existencias
0
64.96
29
Imagen
Part #
Existencias
0
32
Imagen
Existencias
0
34
Imagen
Existencias
0
35
Imagen
Existencias
0
36
Imagen
Existencias
0
37
Imagen
Existencias
0
38
Imagen
Part #
Existencias
0
41
Imagen
Existencias
0
42
Imagen
Existencias
0
43
Imagen
Existencias
0
45
Imagen
Existencias
0
46
Imagen
Existencias
0
47
Imagen
Existencias
0
48
Imagen
Existencias
0
49
Imagen
Part #
Existencias
0
50
Imagen
Existencias
0
153.12
53
Imagen
Existencias
0
54
Imagen
Existencias
0
55
Imagen
Existencias
0
56
Imagen
Existencias
0
58
Imagen
Existencias
0
59
Imagen
Existencias
0
60
Imagen
Existencias
0
61
Imagen
Existencias
0
123
Imagen
Existencias
0
50
Imagen
Existencias
0
153.12
62
Imagen
Part #
Existencias
0
63
Imagen
Part #
Existencias
0
64
Imagen
Existencias
0
129.92
67
Imagen
Existencias
0
68
Imagen
Existencias
0
69
Imagen
Existencias
0
70
Imagen
Existencias
0
72
Imagen
Existencias
0
75
Imagen
Existencias
0
76
Imagen
Existencias
0
77
Imagen
Part #
Existencias
0
78
Imagen
Existencias
0
80
Imagen
Part #
Existencias
0
82
Imagen
Existencias
0
84
Imagen
Existencias
0
86
Imagen
Existencias
0
87
Imagen
Part #
Existencias
0
88
Imagen
Existencias
0
90
Imagen
Existencias
0
91
Imagen
Part #
Existencias
0
92
Imagen
Existencias
0
94
Imagen
Existencias
0
95
Imagen
Part #
Existencias
0
98
Imagen
Existencias
0
99
Imagen
Existencias
0
100
Imagen
Existencias
0
101
Imagen
Existencias
0
102
Imagen
Part #
Existencias
0
103
Imagen
Existencias
0
105
Imagen
Existencias
0
106
Imagen
Part #
Existencias
0
107
Imagen
Part #
Existencias
0
108
Imagen
Part #
Existencias
0
109
Imagen
Existencias
0
110
Imagen
Existencias
0
111
Imagen
Existencias
0
112
Imagen
Existencias
0
113
Imagen
Existencias
0
114
Imagen
Part #
Existencias
0
115
Imagen
Part #
Existencias
0
116
Imagen
Part #
Existencias
0
117
Imagen
Part #
Existencias
0
118
Imagen
Part #
Existencias
0
120
Imagen
Existencias
0
1
Imagen
Existencias
0
2
Imagen
Existencias
0
3
Imagen
Existencias
0
4
Imagen
Existencias
0
153.12
6
Imagen
Part # TS1523031
Existencias
0
42.92
7
Imagen
Existencias
0
8
Imagen
Existencias
0
10
Imagen
Part # GB308SB6
Existencias
0
129.92
12
Imagen
Part #
Existencias
0
14
Imagen
Part # GB8795X35
Existencias
0
15
Imagen
Existencias
0
129.92
16
Imagen
Existencias
0
17
Imagen
Existencias
0
18
Imagen
Existencias
0
19
Imagen
Existencias
0
21
Imagen
Existencias
0
22
Imagen
Existencias
0
23
Imagen
Part #
Existencias
0
24
Imagen
Existencias
0
25
Imagen
Existencias
0
26
Imagen
Existencias
0
27
Imagen
Existencias
0
28
Imagen
Part #
Existencias
0
29
Imagen
Existencias
0
153.12
32
Imagen
Part # GB10965X56
Existencias
0
33
Imagen
Part # GB8793X5
Existencias
0
73
Imagen
Existencias
0
75
Imagen
Existencias
0
77
Imagen
Existencias
0
38
Imagen
Existencias
0
39
Imagen
Part #
Existencias
0
41
Imagen
Part # GB8795X35
Existencias
0
42
Imagen
Part #
Existencias
0
43
Imagen
Existencias
0
129.92
44
Imagen
Existencias
0
46
Imagen
Existencias
0
47
Imagen
Existencias
0
48
Imagen
Existencias
0
50
Imagen
Existencias
0
51
Imagen
Existencias
0
52
Imagen
Existencias
0
53
Imagen
Part # GB308SB6
Existencias
0
129.92
54
Imagen
Existencias
0
55
Imagen
Part #
Existencias
0
56
Imagen
Existencias
0
57
Imagen
Part #
Existencias
0
58
Imagen
Existencias
0
59
Imagen
Existencias
0
60
Imagen
Part #
Existencias
0
62
Imagen
Existencias
0
63
Imagen
Existencias
0
64
Imagen
Existencias
0
153.12
65
Imagen
Existencias
0
66
Imagen
Part # GB308SB6
Existencias
0
129.92
67
Imagen
Part #
Existencias
0
68
Imagen
Existencias
0
69
Imagen
Existencias
0
64.96
70
Imagen
Existencias
0
71
Imagen
Existencias
0
72
Imagen
Existencias
0
74
Imagen
Existencias
0
78
Imagen
Existencias
0
1
Imagen
Part # GH1440W0704
Existencias
0
3
Imagen
Existencias
0
5
Imagen
Existencias
0
6
Imagen
Part # GH1440W-07-02
Existencias
0
9
Imagen
Part # GB11558
Existencias
0
10
Imagen
Existencias
0
129.92
12
Imagen
Existencias
0
13
Imagen
Existencias
0
14
Imagen
Existencias
0
15
Imagen
Existencias
0
16
Imagen
Existencias
0
19
Imagen
Existencias
0
20
Imagen
Existencias
0
21
Imagen
Existencias
0
22
Imagen
Existencias
0
24
Imagen
Existencias
0
25
Imagen
Existencias
0
26
Imagen
Existencias
0
27
Imagen
Existencias
0
28
Imagen
Existencias
0
29
Imagen
Existencias
0
30
Imagen
Existencias
0
31
Imagen
Part # GB3018102
Existencias
0
1037.04
33
Imagen
Existencias
0
35
Imagen
Existencias
0
36
Imagen
Existencias
0
37
Imagen
Existencias
0
64.96
38
Imagen
Existencias
0
39
Imagen
Existencias
0
40
Imagen
Existencias
0
41
Imagen
Part # GB308SB6
Existencias
0
129.92
42
Imagen
Existencias
0
43
Imagen
Existencias
0
44
Imagen
Existencias
0
45
Imagen
Existencias
0
46
Imagen
Existencias
0
47
Imagen
Existencias
0
48
Imagen
Existencias
0
49
Imagen
Existencias
0
50
Imagen
Existencias
0
53
Imagen
Existencias
0
54
Imagen
Existencias
0
55
Imagen
Existencias
0
129.92
56
Imagen
Existencias
0
57
Imagen
Existencias
0
58
Imagen
Existencias
0
60
Imagen
Existencias
0
61
Imagen
Existencias
0
62
Imagen
Existencias
0
63
Imagen
Existencias
0
1
Imagen
Existencias
0
2
Imagen
Existencias
0
3
Imagen
Existencias
0
4
Imagen
Existencias
0
5
Imagen
Existencias
0
6
Imagen
Existencias
0
9
Imagen
Existencias
0
11
Imagen
Existencias
0
12
Imagen
Existencias
0
13
Imagen
Existencias
0
129.92
15
Imagen
Part #
Existencias
0
16
Imagen
Existencias
0
17
Imagen
Existencias
0
19
Imagen
Existencias
0
20
Imagen
Existencias
0
21
Imagen
Existencias
0
129.92
22
Imagen
Part # GB3018103
Existencias
0
2722.52
24
Imagen
Existencias
0
25
Imagen
Existencias
0
26
Imagen
Existencias
0
27
Imagen
Existencias
0
28
Imagen
Existencias
0
64.96
29
Imagen
Existencias
0
30
Imagen
Existencias
0
31
Imagen
Part # GB308SB6
Existencias
0
129.92
32
Imagen
Existencias
0
33
Imagen
Existencias
0
36
Imagen
Existencias
0
37
Imagen
Existencias
0
38
Imagen
Existencias
0
39
Imagen
Existencias
0
2
Imagen
Existencias
0
129.92
3
Imagen
Existencias
0
4
Imagen
Part # GB3018103
Existencias
0
2722.52
5
Imagen
Existencias
0
6
Imagen
Part #
Existencias
0
7
Imagen
Existencias
0
153.12
8
Imagen
Part #
Existencias
0
9
Imagen
Existencias
0
10
Imagen
Existencias
0
11
Imagen
Existencias
0
12
Imagen
Existencias
0
13
Imagen
Existencias
0
14
Imagen
Existencias
0
15
Imagen
Part # GB308SB6
Existencias
0
129.92
16
Imagen
Existencias
0
17
Imagen
Existencias
0
18
Imagen
Existencias
0
64.96
19
Imagen
Existencias
0
20
Imagen
Existencias
0
21
Imagen
Existencias
0
22
Imagen
Existencias
0
23
Imagen
Existencias
0
26
Imagen
Existencias
0
27
Imagen
Existencias
0
28
Imagen
Part #
Existencias
0
30
Imagen
Existencias
0
31
Imagen
Part # TS2311061
Existencias
0
129.92
31
Imagen
Existencias
0
32
Imagen
Existencias
0
33
Imagen
Existencias
0
34
Imagen
Existencias
0
35
Imagen
Existencias
0
39
Imagen
Existencias
0
1
Imagen
Existencias
0
2
Imagen
Existencias
0
3
Imagen
Existencias
0
4
Imagen
Existencias
0
5
Imagen
Existencias
0
6
Imagen
Existencias
0
7
Imagen
Existencias
0
8
Imagen
Existencias
0
9
Imagen
Existencias
0
10
Imagen
Existencias
0
11
Imagen
Existencias
0
12
Imagen
Existencias
0
13
Imagen
Part # GB8795X35
Existencias
0
16
Imagen
Existencias
0
17
Imagen
Part #
Existencias
0
19
Imagen
Existencias
0
20
Imagen
Existencias
0
21
Imagen
Existencias
0
22
Imagen
Existencias
0
23
Imagen
Existencias
0
129.92
24
Imagen
Part #
Existencias
0
25
Imagen
Existencias
0
26
Imagen
Part # GB8795X35
Existencias
0
27
Imagen
Part #
Existencias
0
27
Imagen
Part #
Existencias
0
28
Imagen
Existencias
0
30
Imagen
Part # GB308SB6
Existencias
0
129.92
32
Imagen
Existencias
0
32
Imagen
Part # TS2311061
Existencias
0
129.92
33
Imagen
Existencias
0
34
Imagen
Existencias
0
37
Imagen
Existencias
0
38
Imagen
Existencias
0
153.12
40
Imagen
Existencias
0
42
Imagen
Existencias
0
43
Imagen
Existencias
0
44
Imagen
Existencias
0
45
Imagen
Existencias
0
46
Imagen
Existencias
0
47
Imagen
Part #
Existencias
0
48
Imagen
Part # TS1523031
Existencias
0
42.92
49
Imagen
Existencias
0
50
Imagen
Existencias
0
51
Imagen
Existencias
0
52
Imagen
Existencias
0
53
Imagen
Part #
Existencias
0
54
Imagen
Existencias
0
55
Imagen
Part # GB8793X5
Existencias
0
56
Imagen
Part # 1302
Existencias
0
57
Imagen
Existencias
0
58
Imagen
Existencias
0
59
Imagen
Part #
Existencias
0
60
Imagen
Existencias
0
153.12
61
Imagen
Existencias
0
1
Imagen
Existencias
0
2
Imagen
Existencias
0
3
Imagen
Existencias
0
4
Imagen
Existencias
0
5
Imagen
Existencias
0
6
Imagen
Existencias
0
7
Imagen
Existencias
0
8
Imagen
Existencias
0
9
Imagen
Existencias
0
10
Imagen
Existencias
0
11
Imagen
Existencias
0
12
Imagen
Existencias
0
13
Imagen
Part # 1101
Existencias
0
14
Imagen
Existencias
0
15
Imagen
Existencias
0
16
Imagen
Existencias
0
17
Imagen
Existencias
0
18
Imagen
Existencias
0
19
Imagen
Part # 1104
Existencias
0
20
Imagen
Existencias
0
22
Imagen
Existencias
0
25
Imagen
Existencias
0
26
Imagen
Part # 1112
Existencias
0
27
Imagen
Existencias
0
28
Imagen
Existencias
0
29
Imagen
Part #
Existencias
0
33
Imagen
Existencias
0
34
Imagen
Existencias
0
35
Imagen
Existencias
0
36
Imagen
Existencias
0
37
Imagen
Part # 1107
Existencias
0
39
Imagen
Existencias
0
40
Imagen
Part #
Existencias
0
41
Imagen
Existencias
0
42
Imagen
Existencias
0
43
Imagen
Part # TS2311061
Existencias
0
129.92
43
Imagen
Existencias
0
1
Imagen
Part # 1502
Existencias
0
2
Imagen
Part # 1504
Existencias
0
324.80
3
Imagen
Existencias
0
5
Imagen
Part #
Existencias
0
6
Imagen
Existencias
0
7
Imagen
Existencias
0
10
Imagen
Existencias
0
11
Imagen
Existencias
0
13
Imagen
Part #
Existencias
0
14
Imagen
Part # TS1540071
Existencias
0
194.88
15
Imagen
Existencias
0
16
Imagen
Existencias
0
17
Imagen
Existencias
0
18
Imagen
Existencias
0
19
Imagen
Part #
Existencias
0
20
Imagen
Part #
Existencias
0
21
Imagen
Existencias
0
153.12
22
Imagen
Part # 1503
Existencias
0
23
Imagen
Part # 1504
Existencias
0
324.80
25
Imagen
Existencias
0
129.92
26
Imagen
Existencias
0
27
Imagen
Existencias
0
28
Imagen
Existencias
0
29
Imagen
Existencias
0
30
Imagen
Existencias
0
31
Imagen
Existencias
0
34
Imagen
Existencias
0
35
Imagen
Existencias
0
1
Imagen
Part # GH1440W0902
Existencias
0
972.08
2
Imagen
Existencias
0
129.92
2
Imagen
Existencias
0
3
Imagen
Part # 10B04
Existencias
0
2268.96
4
Imagen
Part # 10B05
Existencias
0
518.52
4
Imagen
Existencias
0
5
Imagen
Part # 10B02
Existencias
0
5
Imagen
Part #
Existencias
0
6
Imagen
Part # 10B06
Existencias
0
7
Imagen
Part # TS2311061
Existencias
0
129.92
7
Imagen
Existencias
0
7
Imagen
Existencias
0
8
Imagen
Existencias
0
129.92
8
Imagen
Existencias
0
9
Imagen
Existencias
0
10
Imagen
Existencias
0
1
Imagen
Part # GH1440W0902
Existencias
0
972.08
2
Imagen
Existencias
0
129.92
3
Imagen
Part # 10A05
Existencias
0
4
Imagen
Part # 10A06
Existencias
0
5
Imagen
Part # 10A07
Existencias
0
6
Imagen
Part # 10A08
Existencias
0
7
Imagen
Existencias
0
8
Imagen
Existencias
0
9
Imagen
Existencias
0
10
Imagen
Part # TS2311061
Existencias
0
129.92
10
Imagen
Existencias
0
12
Imagen
Existencias
0
13
Imagen
Existencias
0
14
Imagen
Existencias
0
15
Imagen
Existencias
0
16
Imagen
Existencias
0
17
Imagen
Existencias
0
1
Imagen
Part # JC38
Existencias
0
7616.56
2
Imagen
Existencias
0
3
Imagen
Existencias
0
4
Imagen
Existencias
0
129.92
5
Imagen
Existencias
0
6
Imagen
Existencias
0
7
Imagen
Existencias
0
8
Imagen
Existencias
0
9
Imagen
Existencias
0
10
Imagen
Existencias
0
11
Imagen
Part # TS1540031
Existencias
0
194.88
3
Imagen
Existencias
0
4
Imagen
Existencias
0
0
Imagen
Existencias
0
0
Imagen
Existencias
0
0
Imagen
Existencias
0
0
Imagen
Existencias
0
0
Imagen
Existencias
0
0
Imagen
Existencias
0
0
Imagen
Existencias
0
0
Imagen
Existencias
0
0
Imagen
Part # GH1440WCPA
Existencias
0
0
Imagen
Part #
Existencias
0
0
Imagen
Existencias
0
0
Imagen
Existencias
0
0
Imagen
Existencias
0
0
Imagen
Existencias
0
0
Imagen
Existencias
0
0
Imagen
Existencias
0
0
Imagen
Existencias
0
0
Imagen
Existencias
0
4
Imagen
Existencias
0
4
Imagen
Existencias
0
10
Imagen
Existencias
0
11
Imagen
Existencias
0
12
Imagen
Existencias
0
13
Imagen
Existencias
0
33
Imagen
Existencias
0
73
Imagen
Existencias
0
95
Imagen
Existencias
0

Ocurrió un problema de conexión. Vuelve a cargar la página o revisa tu conexión.